您所在位置: 网站首页 / 文档列表 / 施工组织 / 文档详情
管道焊接施工组织设计方案-经典通用宝藏文档.doc 立即下载
上传人:石头****海海 上传时间:2024-09-04 格式:DOC 页数:10 大小:47KB 金币:6 举报 版权申诉
预览加载中,请您耐心等待几秒...

管道焊接施工组织设计方案-经典通用宝藏文档.doc

管道焊接施工组织设计方案-经典通用宝藏文档.doc

预览

在线预览结束,喜欢就下载吧,查找使用更方便

6 金币

下载文档

如果您无法下载资料,请参考说明:

1、部分资料下载需要金币,请确保您的账户上有足够的金币

2、已购买过的文档,再次下载不重复扣费

3、资料包下载后请先用软件解压,在使用对应软件打开

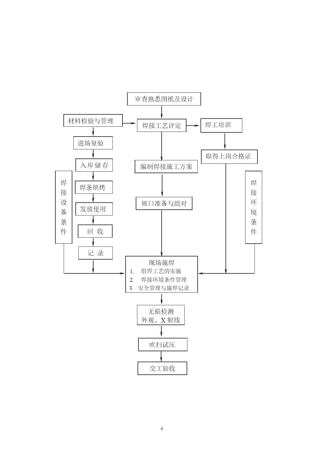
PAGEPAGE9焊接施工方案编制:审核:批准:目录1.目简要概况及编制根据…………………………………….22材料……………………………………………………………23焊接施工程序…………………………………………………34焊接环境……..…………………………………………………55焊前预备………………………………………..…………..….5.6.焊接工艺措施…………………………….….………………..67.焊缝检测……………………………………………………….78.质量保证措施………………………………………………….79.安全消费保证措施…………………………………………….810.次要施工机具及用料………………………………………..8管道焊接施工方案1目简要概况及编制根据1.1工程简介1.1.1本项目为改造项目,需铺设一条长900米的管道,其中跨河长度320米,管道规格为Ф159Ⅹ6。1.1.2本项目施工难度大,特别是固定口需在高空组对,给施工构成很大困难。1.3编制根据1.3.1设计院施工蓝图1.3.2《工业金属管道施工及验收规范》GB50235-971.3.3《石油化工剧毒、可燃介质管道工程施工及验收规范》SHJ3501-971.3.4《现场装备、工业管道焊接工程施工及验收规范》GB50236-982材料2.1管材、管件必须具有出厂合格证或质量证明书。材质合格证应包括钢号、炉批号、规格、化学成分、力学功能、供货形状及材料标准号。2.2管材、管件的表面应无裂纹、缩孔、折叠、重皮等缺陷。若表面存在局部锈蚀凹陷时,必须保证最小壁厚。2.3焊材的选用、保管和运用2.3.1焊材的选用手工电弧焊焊条选用E-4303,焊条烘烤温度100℃-150℃,烘烤恒温1小时。2.3.2焊材的保管及运用2.3.2.1工程所用焊材必须妥善保管,存放室内应有防潮装备并保持干燥,以防发霉。室内的温度应大于5℃,绝对湿度应小于60%。2.3.2.2存放于室内的焊材必须按型号、规格、批号做好明显标志,分门别类码放划一。2.3.2.3曾经受潮药皮变色或长白斑、焊芯锈蚀的焊条不准运用。2.3.2.4焊条应有专人烘烤,烘烤时应留意避免焊条在烘烤过程中药皮因温度剧升或陡降而开裂,烘干箱的升温或降温不能过快。不允许往正在升温的烘干箱内放入或取出焊条,应待焊条烘烤符合要求,降至保温温度后方可取出。从烘干箱中取出的焊条应放在保温筒内,数量根据施焊需求而定,从烘干箱取出的焊条应在4小时内用完,剩余焊条需求重新烘烤,烘烤次数超过两次的焊条不得用于焊接。2.3.2.5焊条烘烤人员除按规定烘烤焊条外,还要负责按规定领取和发放焊条,并按要求做好发放、回收纪录。3焊接施工程序焊接设备条件焊接环境条件审查熟悉图纸及设计文件焊接工艺评定编制焊接施工方案坡口准备与组对材料检验与管理进场复验入库储存春焊条烘烤回收发放使用记录焊工培训取得上岗合格证现场施焊组焊工艺的实施焊接环境条件管理安全管理与施焊记录吹扫试压无损检测外观、X射线交工验收4焊接环境4.1当焊件温度低于0℃时,一切钢材的施焊焊缝应在始焊处100mm范围内预热15℃以上。4.2焊接环境出现如下情况时必须采用栅布遮挡措施,否则禁止施焊。风速大于10m/s绝对湿度大于90%雨、雪天气5焊前预备5.1参加焊接的焊工必须持有劳动部门颁发的焊工合格证,施焊前,焊工必须认真浏览焊接施工措施和焊接作业指点书。5.2由具有锅炉压力容器无损检测Ⅱ级以上资历证的人员担任焊接质量的无损检测和结果评定。5.3焊件下料与坡口加工5.3.1本工程所采用的管材,宜采用机械加工,也可采用氧-乙炔焰切割坡口,但运用砂轮机除去坡口表面的氧化物、熔渣及飞溅物,直至露出金属光泽,并将不平处补缀平整。5.3.2钢管组对前应先用紧缩空气将管内吹干净,然后用砂轮机将坡口表面及附近10-20mm范围内的油漆、污垢、锈皮清理干净。5.3.3坡口的具体加工型式按施工图纸履行,若图中无规定,可按下图加工。pbαδδδ≤16mmα=30℃-35℃b=1~3mmp=1~2mm5.4焊口组对5.4.1管子或管件组对时,内壁应平齐,内壁错边量不应超过管壁厚度的10%,且不大于2mm。5.4.2焊口的局部间隙过大时,应想法修整到规定的尺寸,严禁在间隙内加填赛物。5.4.3严禁强力组对焊口,更不允许用火焰烤等热膨胀法对口5.4.4定位焊的焊接工艺与正式焊的焊接工艺相
单篇购买
VIP会员(1亿+VIP文档免费下)

扫码即表示接受《下载须知》

管道焊接施工组织设计方案-经典通用宝藏文档

文档大小:47KB

限时特价:扫码查看

• 请登录后再进行扫码购买
• 使用微信/支付宝扫码注册及付费下载,详阅 用户协议 隐私政策
• 如已在其他页面进行付款,请刷新当前页面重试
• 付费购买成功后,此文档可永久免费下载
年会员
99.0
¥199.0

6亿VIP文档任选,共次下载特权。

已优惠

微信/支付宝扫码完成支付,可开具发票

VIP尽享专属权益

VIP文档免费下载

赠送VIP文档免费下载次数

阅读免打扰

去除文档详情页间广告

专属身份标识

尊贵的VIP专属身份标识

高级客服

一对一高级客服服务

多端互通

电脑端/手机端权益通用

手机号注册 用户名注册
我已阅读并接受《用户协议》《隐私政策》
已有账号?立即登录
我已阅读并接受《用户协议》《隐私政策》
已有账号?立即登录
登录
手机号登录 微信扫码登录
微信扫一扫登录 账号密码登录

首次登录需关注“豆柴文库”公众号

新用户注册
VIP会员(1亿+VIP文档免费下)
年会员
99.0
¥199.0

6亿VIP文档任选,共次下载特权。

已优惠

微信/支付宝扫码完成支付,可开具发票

VIP尽享专属权益

VIP文档免费下载

赠送VIP文档免费下载次数

阅读免打扰

去除文档详情页间广告

专属身份标识

尊贵的VIP专属身份标识

高级客服

一对一高级客服服务

多端互通

电脑端/手机端权益通用