您所在位置: 网站首页 / 文档列表 / 公路/桥梁 / 文档详情
隧道衬砌施工方案.doc 立即下载
上传人:天马****23 上传时间:2024-09-06 格式:DOC 页数:53 大小:2.4MB 金币:10 举报 版权申诉
预览加载中,请您耐心等待几秒...

隧道衬砌施工方案.doc

隧道衬砌施工方案.doc

预览

免费试读已结束,剩余 43 页请下载文档后查看

10 金币

下载文档

如果您无法下载资料,请参考说明:

1、部分资料下载需要金币,请确保您的账户上有足够的金币

2、已购买过的文档,再次下载不重复扣费

3、资料包下载后请先用软件解压,在使用对应软件打开

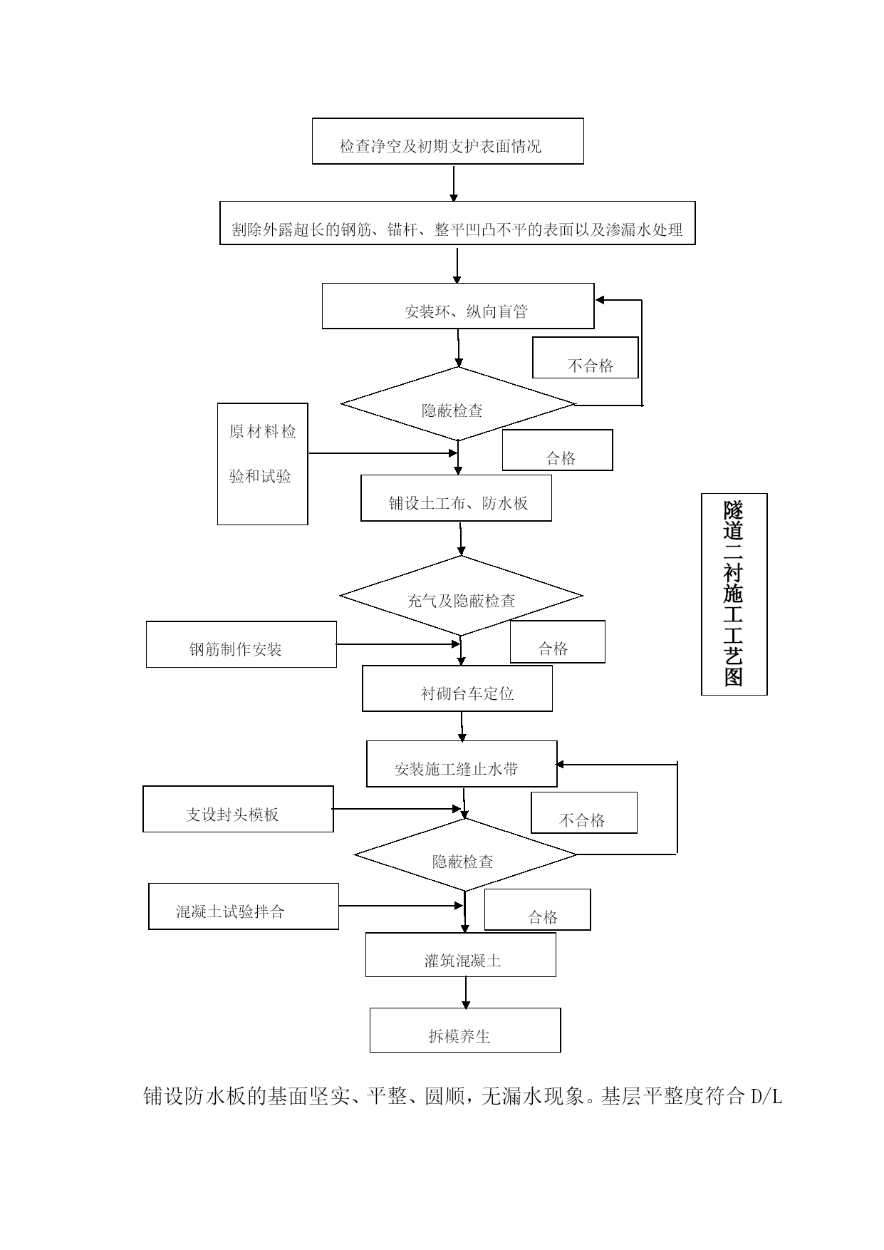
隧道衬砌施工方案实用文档(实用文档,可以直接使用,可编辑优秀版资料,欢迎下载)玉临高速公路SJ-3标段文新1号隧道出口试验段工程隧道衬砌专项施工方案复核:中铁十八局集团二〇一六年四月目录TOC\o”1-2”\h\z\uHYPERLINK\l_Toc115341编制原则、依据PAGEREF_Toc115341HYPERLINK\l_Toc187091。1编制原则PAGEREF_Toc187091HYPERLINK\l_Toc211341。2编制依据PAGEREF_Toc211341HYPERLINK\l_Toc24732工程简介PAGEREF_Toc24732HYPERLINK\l_Toc259042。1工程概况PAGEREF_Toc259042HYPERLINK\l_Toc76222。2工程地质PAGEREF_Toc76222HYPERLINK\l_Toc270012.3地震动参数PAGEREF_Toc270012HYPERLINK\l_Toc248802。5水文地质PAGEREF_Toc248803HYPERLINK\l_Toc307293主要施工方案及施工方法PAGEREF_Toc307293HYPERLINK\l_Toc203。1施工方案PAGEREF_Toc203HYPERLINK\l_Toc321233.2施工准备PAGEREF_Toc321233HYPERLINK\l_Toc52453.3施工工艺PAGEREF_Toc52454HYPERLINK\l_Toc292873.4施工方法PAGEREF_Toc292874HYPERLINK\l_Toc316274施工设备及人员配备计划PAGEREF_Toc3162714HYPERLINK\l_Toc52224.1劳动力组织计划PAGEREF_Toc522214HYPERLINK\l_Toc56764。2主要施工机械设备配置PAGEREF_Toc567615HYPERLINK\l_Toc123615工序时间安排PAGEREF_Toc1236115HYPERLINK\l_Toc139146常见问题及注意事项PAGEREF_Toc1391416HYPERLINK\l_Toc202167质量保证措施PAGEREF_Toc2021616HYPERLINK\l_Toc198237.1质量管理措施PAGEREF_Toc1982316HYPERLINK\l_Toc248067.2质量控制措施PAGEREF_Toc2480617HYPERLINK\l_Toc6528安全保证措施PAGEREF_Toc65220HYPERLINK\l_Toc113668.1建立安全管理机构PAGEREF_Toc1136620HYPERLINK\l_Toc229508.2安全教育PAGEREF_Toc2295021HYPERLINK\l_Toc30578.3安保检查PAGEREF_Toc305722HYPERLINK\l_Toc224268。4安全应急救援预案PAGEREF_Toc2242623HYPERLINK\l_Toc232798.5高空作业安全措施PAGEREF_Toc2327928HYPERLINK\l_Toc133609施工环保、水保措施PAGEREF_Toc1336029HYPERLINK\l_Toc317729.1环保、水保目标PAGEREF_Toc3177229HYPERLINK\l_Toc289279.2环保、水保措施PAGEREF_Toc2892729HYPERLINK\l_Toc546210文明施工措施PAGEREF_Toc546235HYPERLINK\l_Toc934511各种应急措施PAGEREF_Toc934536文新隧道衬砌施工方案1编制原则、依据1。1编制原则遵循设计文件的原则。在编制施工方案时,认真阅读核对施工图设计文件资料,了解设计意图,掌握现场情况,严格按设计资料和设计原则编制,满足设计标准和要求。遵循“安全第一、预防为主”和“管生产必须管安全”的原则。严格按照铁路施工安全操作规程,从制度、管理、方案、资源方面制定切实可行的措施,确保施工安全,服从建设单位指令,服从监理工程师的监督检查,
单篇购买
VIP会员(1亿+VIP文档免费下)

扫码即表示接受《下载须知》

隧道衬砌施工方案

文档大小:2.4MB

限时特价:扫码查看

• 请登录后再进行扫码购买
• 使用微信/支付宝扫码注册及付费下载,详阅 用户协议 隐私政策
• 如已在其他页面进行付款,请刷新当前页面重试
• 付费购买成功后,此文档可永久免费下载
年会员
99.0
¥199.0

6亿VIP文档任选,共次下载特权。

已优惠

微信/支付宝扫码完成支付,可开具发票

VIP尽享专属权益

VIP文档免费下载

赠送VIP文档免费下载次数

阅读免打扰

去除文档详情页间广告

专属身份标识

尊贵的VIP专属身份标识

高级客服

一对一高级客服服务

多端互通

电脑端/手机端权益通用

手机号注册 用户名注册
我已阅读并接受《用户协议》《隐私政策》
已有账号?立即登录
我已阅读并接受《用户协议》《隐私政策》
已有账号?立即登录
登录
手机号登录 微信扫码登录
微信扫一扫登录 账号密码登录

首次登录需关注“豆柴文库”公众号

新用户注册
VIP会员(1亿+VIP文档免费下)
年会员
99.0
¥199.0

6亿VIP文档任选,共次下载特权。

已优惠

微信/支付宝扫码完成支付,可开具发票

VIP尽享专属权益

VIP文档免费下载

赠送VIP文档免费下载次数

阅读免打扰

去除文档详情页间广告

专属身份标识

尊贵的VIP专属身份标识

高级客服

一对一高级客服服务

多端互通

电脑端/手机端权益通用